Sony Patents AI To Censor Mature Games In Real Time

Sony has patented an AI system that could dynamically censor mature content in games in real-time, moving beyond traditional age ratings. This technology, reminiscent of past debates around content modification, proposes altering visuals and audio to create sanitised versions of any title.

Sony Patents AI To Censor Mature Games In Real Time

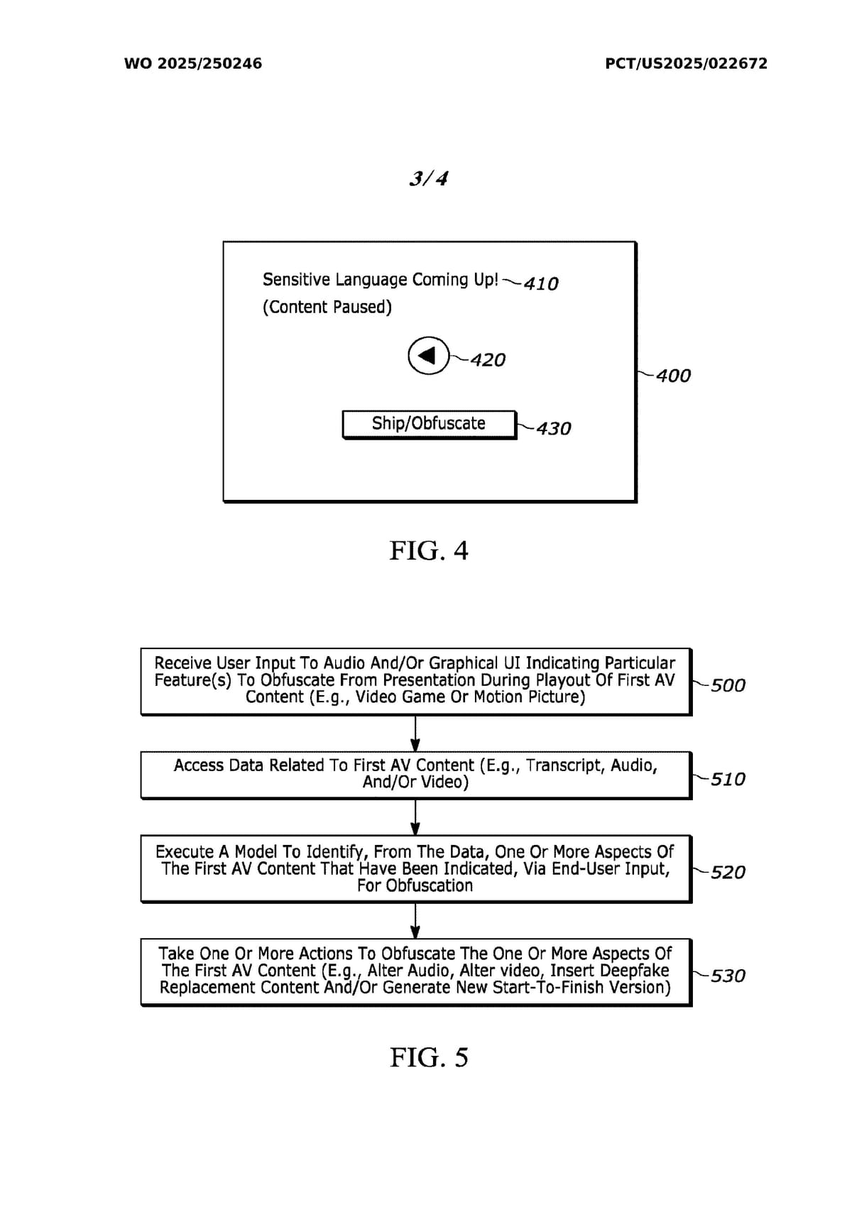
Sony has filed a patent for an AI-driven system designed to automatically censor mature content in video games in real time, potentially allowing a single title to be dynamically sanitised for younger players. According to the patent documentation, the technology would analyse on-screen action to identify elements like violence, gore, or profanity, then intervene by blurring visuals, muting dialogue, or swapping out assets like blood effects for more benign alternatives.

The concept proposes a significant leap from the basic parental controls of past console generations. Where a Sega Mega Drive or original PlayStation might have offered only a simple password lock, and later systems like the PS2 introduced broader age-rating blocks, this AI aims to remodel a game's content on the fly. In theory, this could mean one copy of a game like Mortal Kombat or Grand Theft Auto: Vice City could be played in its original form by an adult, while a child's profile triggers the AI to replace finishing moves or obscure controversial scenes.

For retro enthusiasts, this evokes the long history of regional censorship and altered localisations. Many will recall the notorious green blood in the PAL version of Mortal Kombat on the Mega Drive, or the heavily edited German releases of Doom and Wolfenstein 3D that replaced enemies with robots. Sony's patent suggests a future where such edits are not fixed by developers for specific regions, but are applied dynamically and universally by the platform holder, raising immediate questions about artistic integrity.

While presented as a convenience for families, the patent underscores a shifting control over game content. If implemented on future platforms or cloud services, it could grant Sony unprecedented editorial power to algorithmically reshape games post-release. The technology remains only a patent for now, but it signals a potential future where the experience of a classic game could be fundamentally altered between one player account and the next.

Want more retro gaming news delivered to your inbox? Subscribe to our newsletter for weekly updates on classic gaming, preservation projects, and collector insights.

Stay in the know with all the latest Retro Gaming news,
with our free weekly news roundup.

Subscribe ✉️
Follow us:
🐦 X 📸 Instagram